北京市凌鹰起重机械厂
地址:北京市昌平区东小口
二十四小时手机:18611422091(同微信)
传真: 010-58043523
网址:m.j4e3.cn
抖音:lyqz18611422091
扫一扫加微信好友




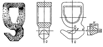
对一种码头特种吊钩的强度进行了分析。首先确定吊钩截面形状,然后建立ANSYS有限元计算模型,并在其计算的基础上,采用正交设计方法,研究此特种吊钩四个主要设计参数(B1、B2、H、D)对其强度的影响规律,回归出大应力计算公式,后按实际要求进行设计。

上一条:国外葫芦式起重机发展近况
下一条:钢丝绳报废标准知多少
北京市凌鹰起重机械厂
地址:北京市昌平区东小口
二十四小时手机:18611422091(同微信)
传真: 010-58043523
网址:m.j4e3.cn
抖音:lyqz18611422091
扫一扫加微信好友
