北京市凌鹰起重机械厂
地址:北京市昌平区东小口
二十四小时手机:18611422091(同微信)
传真: 010-58043523
网址:m.j4e3.cn
抖音:lyqz18611422091
扫一扫加微信好友




很多车辆会在暴雨来临时会被淹,导致发动机损坏。北京凌鹰介绍一种车用环链电动葫芦防护系统,这种系统不仅可以在车辆被洪水侵袭前展开使用,即便是在洪水已经淹到车辆底盘时它也能够及时展开使用,避免车辆发动机等被雨水浸淹而导致损坏;该防护系统还具有防泥石流功能。
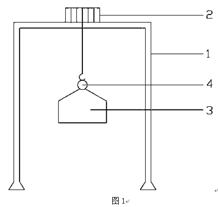
这种环链电动葫芦防护系统包括支架1、环链电动葫芦2、车辆承载体3?;妨吹缍?安装在支架1上,车辆承载体3悬挂在环链电动葫芦2上。车辆承载体3是用来承载车辆的。
车用环链电动葫芦防护系统工作原理:
1、防洪水功能。车用多功能环链电动葫芦防护系统的支架可折叠存放在车辆后车箱,方便携带外出旅途中使用。当本车辆遇上洪水或暴雨,在雨水淹到车辆发动机、电路系统之前,驾驶员可从后车厢拿出本发明防护系统,先把支架1展开,环链电动葫芦2安装在支架1上;将车辆承载体3套住车辆,车辆承载体3悬挂在环链电动葫芦2的挂钩上,环链电动葫芦2连接车用蓄电池或其它电源启动开关把车辆抬升到高处,从而避免车辆被雨水浸泡而导致损坏。
2、防泥石流功能:车用环链电动葫芦防护系统应用活动支架作支撑,当人们把支架固定并将车辆抬升到高处后,泥石流可以从支架流过,避免车辆遭受侵袭。
车用环链电动葫芦防护系统的优点:
1、具有防洪水功能,方便车辆携带使用。
2、具有防泥石流功能;
3、具有娱乐玩具功能。本发明防护系统平时可以作为娱乐玩具使用,车辆停在家门口或者到郊外旅游时,可将本发明支架1展开,将车辆承载体挂在环链电动葫芦的挂钩上作为荡秋千娱乐玩具;
4、结构简单,造价成本低。
备注:图1中各部位名称,1支架、2环链电动葫芦、3车辆承载体、4吊环。

上一条:凌鹰技术分析电动葫芦制动?;禄?/a>
下一条:分析环链电动葫芦的“不足”与“革新
北京市凌鹰起重机械厂
地址:北京市昌平区东小口
二十四小时手机:18611422091(同微信)
传真: 010-58043523
网址:m.j4e3.cn
抖音:lyqz18611422091
扫一扫加微信好友
