北京市凌鹰起重机械厂
地址:北京市昌平区东小口
二十四小时手机:18611422091(同微信)
传真: 010-58043523
网址:m.j4e3.cn
抖音:lyqz18611422091
扫一扫加微信好友




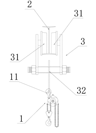
手拉葫芦又称“环链葫芦”或“倒链”,适用于小型设备和货物的短距离吊运,起重量一般不超过100T。手拉葫芦使用时需要先把上吊钩固定在上方支架处,才能使用它进行起吊重物的工作,因而被吊重物必须先移动至支架下方,才能实施起吊,其安装使用具有空间局限性。在一些生产领域中,有很多小型设备需要经常拆装移动,而人工移动又不方便,手拉葫芦能方便提起设备,但不能移动设备。北京凌鹰为大家介绍一种移动式手拉葫芦,解决以上问题。
移动式手拉葫芦包括手拉葫芦本体1、导轨2和滑行小车3;所述滑行小车3包括卡装于导轨2内的滚轮31和与滚轮31的轮架固定连接的安装支架32,所述安装支架32位于导轨2的下方;手拉葫芦本体1的上吊钩11安装在安装支架32的下端。其中,所述导轨2为工字钢;所述滑行小车3设有偶数个滚轮31,所说滚轮31呈两列式排列,两列滚轮31分别卡装在工字钢的两侧部。所述滑行小车3还设有推拉把手或手拉链。使用状态:导轨2固定安装在天花板,根据实际需要,导轨可以是直的,也可以是弯曲延伸的;除了可选用常见的工字钢外,还可以选用其他形状的导轨。滑行小车3的滚轮31数量也可以只设一个,只需能稳固地安装到导轨2内,工作时不掉落即可。
这种方式可以完美的实现手拉葫芦的运行,满足设备移动的使用需求,能广泛应用于了不大,移动空间有限的场所。

上一条:知识百科:低净空钢丝绳电动葫芦
下一条:凌鹰详解如何实现电动葫芦限位报警装置
北京市凌鹰起重机械厂
地址:北京市昌平区东小口
二十四小时手机:18611422091(同微信)
传真: 010-58043523
网址:m.j4e3.cn
抖音:lyqz18611422091
扫一扫加微信好友
