北京市凌鹰起重机械厂
地址:北京市昌平区东小口
二十四小时手机:18611422091(同微信)
传真: 010-58043523
网址:m.j4e3.cn
抖音:lyqz18611422091
扫一扫加微信好友




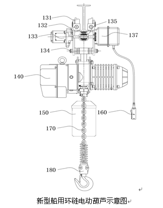
环链电动葫芦取代了原有的钢丝绳卷扬机,具有机身外形美观、体积小、防护等级高、噪音小、安全可靠等特点。但是如果用于船用,现存环链电动葫芦还是存在很多的缺陷。
环链电动葫芦的使用范围很广,主要应用于仓储运输、化工、船舶制造、风力发电、物流、码头、建筑等行业,其用于吊运或者装卸货物,可以将重物吊起来以方便工作或对大型机器进行修理等?;妨吹缍话阌刹僮魅嗽笔褂冒磁タ卦诘孛嫔辖懈娌僮?,也可以在操控室内进行智能操纵,或者还可以采用有线或无线进行远距离操纵控制?;妨吹缍瓤梢怨潭ㄐ移鹄唇惺褂?,又可以配合电动单轨小车、手推或手拉单轨小车进行使用。
对于在船用起重机内所使用的轻小型起重设备一直都是钢丝绳卷扬机,但是由于原有的钢丝绳卷扬机体积大,维修量大,而且需要经常对钢丝绳进行更换,使得卷扬机的使用受到了一定的限制。随着我国各行各业的不断发展,环链电动葫芦的使用领域也越来越广泛,特别是在进行船上作业时所使用的环链电动葫芦是目前生产作业中改善劳动条件和提高劳动效率的必备机械,所以在船上作业中人们选择环链电动葫芦来代替钢丝绳卷扬机?;妨吹缍淙磺崆擅拦郏沧胺奖?,但由于船舶是一个移动的平台,当船舶随海浪摇摆时,环链电动葫芦的运行小车只能对小车本身起制动作用,因此运行小车会随船体的倾斜而自由滑动,起吊的重物也会随着小车进行滑动,这样很容易造成不必要的安全事故,实用性能不佳,存在着不足。
针对现有技术的缺陷,某起重机械公司,研发出一种船用运行式防滑链环链电动葫芦。设计新颖,通过在工字钢上面安装设置齿条,在环链电动葫芦运行小车上设置与齿条进行配对的齿轮和防侧翻边板装置,以避免环链葫芦运行小车随船体的倾斜而自由滑动,以解决现有技术的缺陷。
这种船用运行式防滑链环链电动葫芦结构简单,设计新颖,通过在工字钢底部安装齿条,在环链电动葫芦运行小车上面设置与齿条配对结合的齿轮和防侧翻边板装置,并且在防侧翻边板上面设置具有碰撞缓冲作用的橡胶防撞块,以避免运行小车随船体的倾斜自由滑动和硬性碰撞而造成不必要的损失,此类运行式防滑环链电动葫芦也可应用于其它类似带有坡度的工字钢结构的起重设备上,实用性能优,是一种很好的创新方案,很有市场推广前景。
本文由北京凌鹰小编整理,转载请注明出处。

上一条:详解电动葫芦防冲顶控制装置的发展史
下一条:凌鹰分析微型电动葫芦的下限位装置
北京市凌鹰起重机械厂
地址:北京市昌平区东小口
二十四小时手机:18611422091(同微信)
传真: 010-58043523
网址:m.j4e3.cn
抖音:lyqz18611422091
扫一扫加微信好友
