北京市凌鹰起重机械厂
地址:北京市昌平区东小口
二十四小时手机:18611422091(同微信)
传真: 010-58043523
网址:m.j4e3.cn
抖音:lyqz18611422091
扫一扫加微信好友




手拉葫芦又称“倒链”,是一种使用简单、携带方便的手动起重机械。适用于小型设备和货物的短距离吊运,具有安全可靠、机械效率高、手链拉力小等特点。
一、手拉葫芦检修技术障碍
手拉葫芦在长时间工作后,需要对手拉葫芦进行检修,现有的检修均为操作人员手动操作进行检修,这样存在工作强度大,由于各个操作人员的水平不一,导致检修的结果存在差异,导致后续的使用,减少了安全性能,降低了使用寿命。
二、解决方法
针对现有技术的不足,某起重葫芦公司研发出一种手拉葫芦空载检修机,解决现有手拉葫芦空载检修时存在的工作量大,检修效果差的缺陷。
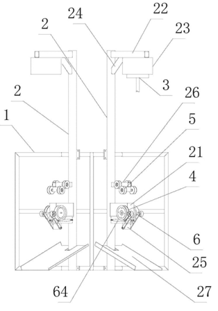
手拉葫芦空载检修机,包括机架,至少两根固定连接在机架上高度可调的支撑架、每根所述支撑架的顶端均设有一个便于手拉葫芦起吊悬挂的悬挂组件,所述支撑架的中部设有驱动手拉葫芦的链条传动的驱动组件,在驱动组件上方的所述支撑架上设有至少一个将链条导向至驱动组件内的导向组件,所述驱动组件上转动连接有一个避免链条脱离驱动组件的压紧组件。
三、新方案优势
通过悬挂组件将手拉葫芦悬挂在支撑架上,压紧组件控制手动葫芦的链条安装在驱动组件上,并通过导向组件进行导向,提高了链条传动的效果,改善了现有通过人员进行检修时的工作强度,压紧组件的设置,减少了链条的脱离,保证了链条的传动,提高了检修的效果,安全性能好,操作简单,控制效果好。
?

?
上一条:分析电动葫芦运行时出现异常声响的三种情况
下一条:知识百科:电动葫芦的使用和维护
北京市凌鹰起重机械厂
地址:北京市昌平区东小口
二十四小时手机:18611422091(同微信)
传真: 010-58043523
网址:m.j4e3.cn
抖音:lyqz18611422091
扫一扫加微信好友
