北京市凌鹰起重机械厂
地址:北京市昌平区东小口
二十四小时手机:18611422091(同微信)
传真: 010-58043523
网址:m.j4e3.cn
抖音:lyqz18611422091
扫一扫加微信好友




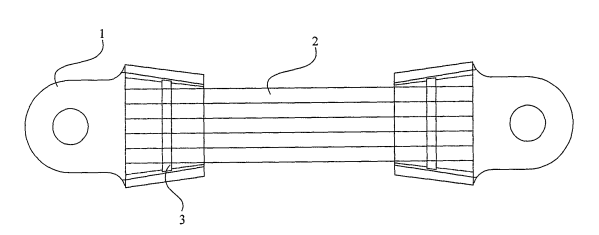
钢丝绳吊索具一般适用于大型物件的吊运,要想起吊重大型物件时,目前市场上的单根浇铸索具,只包含一根钢丝绳很难满足起重需求。这时需要增强钢丝绳吊索具的承重力??梢园迅炙可骶叩囊桓炙可又?根到多跟,但是需要注意钢丝绳的长度需要相等且均浇铸在浇铸接头内。

这种适合吊运重大型物件的钢丝绳吊索具如上图所示,包括浇铸接头有和钢丝绳2(包含钢丝绳2至多根),钢丝绳2的长度相等且均浇铸在浇铸街头1内。这种设备增强了原有设备的承重力,也缩小了单根钢丝绳的直径,方便了工作人员的安装和使用。同时,在同等吨位的吊索具中,这种成本要低于原有单根钢丝绳结构的吊索具的成本。
上一条:图解环链电动葫芦主制动器的制动方式
下一条:关于移动式手拉葫芦的那些事
北京市凌鹰起重机械厂
地址:北京市昌平区东小口
二十四小时手机:18611422091(同微信)
传真: 010-58043523
网址:m.j4e3.cn
抖音:lyqz18611422091
扫一扫加微信好友
