北京市凌鹰起重机械厂
地址:北京市昌平区东小口
二十四小时手机:18611422091(同微信)
传真: 010-58043523
网址:m.j4e3.cn
抖音:lyqz18611422091
扫一扫加微信好友




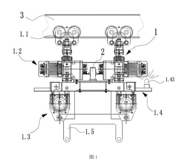
市面上的传统冶金电动葫芦都是单主机,在使用过程中单个主机容易晃动,在冶金行业晃动会使罐体内的液态金属发生倾倒或溅出,高温金属会发生倾倒后,对厂区内操作的工人会带来不可估量的严重事故,且一般的冶金电动葫芦都只有一组制动装置,容易发生事故失效,当制动装置失效,会造成严重的安全事故。
为解决单机晃动的问题,凌鹰设计了一种双主机双钩的冶金电动葫芦,包括两个电动葫芦,两个电动葫芦对称设置在轨道上,两个电动葫芦之间通过同步器相互连接,包括行走装置、传动装置和吊钩装置,行走装置设置在轨道上,与传动装置相互固定连接,传动装置与吊钩装置之间设置有隔热防护装置。

上一条:凌鹰详解国内电动葫芦现状
下一条:哪款电动葫芦更加适合你?
北京市凌鹰起重机械厂
地址:北京市昌平区东小口
二十四小时手机:18611422091(同微信)
传真: 010-58043523
网址:m.j4e3.cn
抖音:lyqz18611422091
扫一扫加微信好友
